Como opcion conductos ramificados, por ejemplo en viviendas la extraccion deja bocas de ventilacion en cuartos humedos y la admision en dormitorios y estar e instalar en su caso placas fotovoltaicas varias marcas SUNFIELDS y baterias . Puede ser ventilacion mecanica, ventilacion hibrida o ventilacion con control mediante sensor de CO2 y en su caso con, al menos, un ventilador, un silenciador, una valvula anti-retorno, un programador horario, una rejilla antipajaros. Puede haber uno o mas ventiladores en el arranque, en tramos intermedios o en el aspirador.
Producto registrado.

En adosados y pareados si los remates estan cercanas, adosados, pareados etc; el humo, fibras, polvo (por ejemplo por reformas) y los aerosoles, tales como enfermedades pasan de una vivienda a otra; el covid aguanta horas en el aire y las corrientes de aire puede llevarlo de una vivienda a otra.
- Instalaciones con remates practicables según Codigo Tecnico de la Construccion.
EL CONTENIDO DE ESTA WEB ESTA PROTEGIDO COMO DERECHOS DE AUTOR.
ENERGIA EOLICA AEROGENERADORES.
INSTALACIONES COMPLETAS ALIMENTADAS CON ENERGIA SOLAR Y EN SU CASO BATERIAS..
- TODOS LOS PRODUCTOS E INSTALACIONES SON HIBRIDAS, MECANICAS O CONTROLADOS MEDIANTE SENSOR DE CO2.
- CATALOGO DE EQUIPOS SUNFIELDS PARA LA ENERGIA FOTOVOLTAICA.
INSTALANDO ESTOS SISTEMAS DE VENTILACION SE HACE UNA REBAJA EN LOS EQUIPOS FOTOVOLTAICOS DEL 10 %.
- Instalamos conductos de ventilacion y energia fotovoltaica, en edificios ya en uso.
- Instalamos conductos de ventilacion y energia fotovoltaica, en edificios en proyecto o en construccion.
- Son remates de ventilacion compuesto, menor huella de carbono.
EL CONTENIDO DE ESTA WEB ESTA PROTEGIDO COMO DERECHOS DE AUTOR.
EN CASO DE QUE HAYA UN CASSETE, CASETTE O CASETE, INSTALADO EN LA CHIMENEA, CUANTO MEJOR FUNCIONE EL REMATE Y MENOS REvOQUE, MENOS SE OSCURECERA Y MENOS SE MANCHARA DE HUMO, LA PUERTA DE CRISTAL.
ENTRA HUMO EN MI CASA.
ENTRA HUMO U OLORES TABACO EN MI CASA.
ENTRAN OLORES DEL INODORO DE LA CASA VECINA.
ENTRA OLORES DE COMIDA EN MI CASA.
EDIFICIO AUTOSUFICIENTE, EL CO2 PESA MAS QUE EL AIRE, POR ELLO LAS BOCAS DE EXTRACCION ESTAN EN EL ENTORNO DEL SUELO.
REJILLA Y VENTILACION DE SEGURIDAD CON SENSOR DE CO, HUMO, GAS Y CO2.
LAS PLACAS TERMICAS Y FOTOVOLTAICAS ESTAN A DOS METROS, O MAS, DE LA CUBIERTA PARA NO MOLESTAR, SOBRE UNA PLATAFORMA COMO OPCION TRANSPARENTE Y CON UNA BARANDILLA PERIMETRAL PARA PREVENIR ACCIDENTES POR CAIDAS.
REJILLA DE SEGURIDAD E INOBTURABLE PARA RECINTOS CON INSTALACIONES DE GASES EXPLOSIVOS.
- AGUAS ARRIBA DE LA ELECTROVALVULA, LA INSTALACION TRANSCURRE POR EL EXTERIOR.
REJILLA DE SEGURIDAD PARA GAS CON VENTILADOR QUE ACTUA SEGUN DATOS DE SENSORES DE GAS, CO, CO2.
- POR ESA RAZON SI EL ESCAPE ES AGUAS ARRIBA DE LA ELECTROVALVULA, COSA QUE PUEDE OCURRIR, NO HAY PELIGRO PARA LAS VIDAS Y LOS BIENES.
ESTE PARQUE FOITOVOLTAICO NO OCUPA SUELO Y ES SEGURO: PROTEGE LA SEGURIDAD Y EL HIGIENE EN EL TRABAJO.
- ELECTROLINERAS E HIDROLINERAS CONECTADAS A BATERIAS, ELECTROLIZADORES, PARQUES FOTOVOLTAICOS ELEVADOS SOBRE PLATAFORMAS CON BARANDILLAS Y AEROGENERADORES.
- SE PRODUCE HIDROGENO VERDE MEDIANTE PARQUES FOTOVOLTAICOS ELEVADOS SOBRE PLATAFORMAS CON BARANDILLAS Y AEROGENERADORES.
REJILLA DE SEGURIDAD PARA GAS.
- PANELES FOTOVOLTAICOS DOTADOS CON ESPEJOS CON SEGUIMIENTO SOLAR.
- PANELES FOTOVOLTAICOS VENTILADOS Y CON BATERIAS.
- PANELES FOTOVOLTAICOS VENTILADOS Y TÉRMICOS.
El cuerpo rotativo esta rodeado de unas piezas de forma que bajo el viento una parte del cuerpo rotativo esta tapado al viento y la otra parte esta abierta al viento, no hay otro aerogenerador de eje vertical mas eficiente.
El cuerpo rotativo esta rodeado de unas piezas de forma que bajo el viento una parte del cuerpo rotativo esta tapado al viento y la otra parte esta abierta al viento, no hay otro aerogenerador de eje vertical mas eficiente.
El cuerpo rotativo esta rodeado de unas piezas de forma que bajo el viento una parte del cuerpo rotativo esta tapado al viento y la otra parte esta abierta al viento, no hay otro aerogenerador de eje vertical mas eficiente.
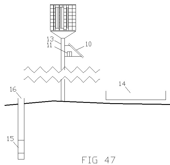
AEROGENERADOR I CON POZO Y ABREBADERO
contacto
EFI VENT
Ver sistemas de riego.
CONTACTO
U202432402.

U202300315.

U202430009.

U202100277.

U202432024.

U202430823.

U202431352.

U202200290.

U202300286.

SISTEMA DE LICENCIAS.
U202430009 II.

COMO OPCION:

1) EL CAMBIO DE REVOLUCIONES TIPO TRANSMISION VARIABLE CONTINUA CVT.

2) PRODUCEN HIDROGENO VERDE: GASEOSO, LIQUIDO O SOLIDO.

3) EXTRAEN AGUA DEL AIRE.

4) TIENEN BATERIAS DE AGUA Y ELECTRICAS.

5) CONECTADOS JUNTO CON UN PARQUE FOTOVOLTAICO Y/O BATERIAS A UNA ELECTROLINERA.

6) CONECTADOS JUNTO CON UN PARQUE FOTOVOLTAICO Y/O BATERIAS A UNA DESALADORA.

7) CONECTADOS JUNTO CON UN PARQUE FOTOVOLTAICO Y/O BATERIAS A UN EDIFICIO.


NATURAEOLICA EN ZONAS ARIDAS SE EXTRAE AGUA DEL AIRE CON AEROGENERADORES PARA APORTAR AGUA A LA FLORA Y LA FAUNA.
CATALOGO
EL MEJOR AEROGENERADOR, EL AEROGENERADOR MAS EFICIENTE.