EL CONTENIDO DE ESTA WEB ESTA PROTEGIDO COMO DERECHOS DE AUTOR.
EL CONTENIDO DE ESTA WEB ESTA PROTEGIDO COMO DERECHOS DE AUTOR.
EN CASO DE QUE HAYA UN CASSETE, CASETTE O CASETE, INSTALADO EN LA CHIMENEA, CUANTO MEJOR FUNCIONE EL REMATE Y MENOS REvOQUE, MENOS SE OSCURECERA Y MENOS SE MANCHARA DE HUMO, LA PUERTA DE CRISTAL.
ENTRA HUMO EN MI CASA.
ENTRA HUMO U OLORES TABACO EN MI CASA.
ENTRAN OLORES DEL INODORO DE LA CASA VECINA.
ENTRA OLORES DE COMIDA EN MI CASA.
REJILLA Y VENTILACION DE SEGURIDAD CON SENSOR DE CO, HUMO, GAS Y CO2.
- AGUAS ARRIBA DE LA ELECTROVALVULA, LA INSTALACION TRANSCURRE POR EL EXTERIOR.
- POR ESA RAZON SI EL ESCAPE ES AGUAS ARRIBA DE LA ELECTROVALVULA, COSA QUE PUEDE OCURRIR, NO HAY PELIGRO PARA LAS VIDAS Y LOS BIENES.
ESTE PARQUE FOITOVOLTAICO NO OCUPA SUELO Y ES SEGURO: PROTEGE LA SEGURIDAD Y EL HIGIENE EN EL TRABAJO.
- SE PRODUCE HIDROGENO VERDE MEDIANTE PARQUES FOTOVOLTAICOS ELEVADOS SOBRE PLATAFORMAS CON BARANDILLAS Y AEROGENERADORES.
- PANELES FOTOVOLTAICOS DOTADOS CON ESPEJOS CON SEGUIMIENTO SOLAR.
- PANELES FOTOVOLTAICOS VENTILADOS Y CON BATERIAS.
AGUA PARA LA FAUNA SILVESTRE, EN ESPACIOS PROTEGIDOS O NO.
PARQUE FOTOVOLTAICO ELEVADO SOBRE UNA PLATAFORMA TRANSITABLE CON BARANDILLAS, PUEDE TENER UN ELEVADOR DE EQUIPOS Y BATERIAS TAL Y COMO SE VE EN LA IMAGEN, LA PLATAFORMA, COMO OPCION, ES TRANSPARENTE.
Estos productos son una Propiedad Industrial busquese en  INVENES U202200290 que es una evolucion de  ES 2128211

EL CONTENIDO DE ESTA WEB ESTA PROTEGIDA COMO DERECHOS DE AUTOR.

Estos tipos de riego por goteo o mangueras o cintas porosas evitan:

1 La obturacion del riego, son anti obturacion.

2  El atascamiento del riego, son anti atascamiento.

3 el taponamiento del riego, son anti taponamiento.
DESALADORA MARINA APROVECHA LA PRESION HIDRICA PARA DISMINUIR EL USO DE ENERGIAS FOSILES Y  LA HUELLA DE CARBONO.
EN PARQUES PUBLICOS, JARDINES, JARDINES BOTANICOS, PARQUES URBANOS, PARQUES MUNICIPALES, EN LA AGRICULTURA, CAMPOS DE GOLF Y EN EL RIEGO DE PRADOS, ESTEPAS Y BOSQUES, INTERESAN SISTEMAS DE RIEGO EFICIENTES, AVANZADOS, ANTI ROBO, ANTI HURTO Y ANTIVANDALICOS.
AGUA PARA FLORA Y FAUNA SILVESTRE, EN ESPACIOS PROTEGIDOS O NO.
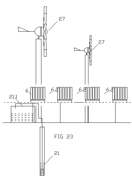
SE CAPTA ENERGIA FOTOVOLTAICA Y EOLICA PARA EXTRAER AGUA DE LOS POZOS Y/O PARA PROPORCIONAR ENERGIA A LAS DESALADORAS, A LOS SISTEMAS ELECTRONICOS Y DE COMUNICACION, A ELECTROVALVULAS, A LAS BOMBAS IMPULSORAS, A LOS SENSORES DE HUMEDAD, A LOS DRONES, A LAS CAMARAS DE VIDEOVIGILANCIA, A LAS CASAS DE EMPLEADOS, ETC, EL AGUA EXTRAIDA O DESALADA SE ACUMULA EN DEPOSITOS AEREOS O SUBTERRANEOS.

MEDIANTE ELECTROLIZADORES, LA ENERGIA FOTOVOLTAICA Y EOLICA PRODUCE HIDROGENO VERDE.

LA INSTALACION ELECTRICA Y DE HIDROGENO SE CONECTA A HIDROLINERAS Y ELECTROLINERAS.
U202430009 ES UNA INSTALACION HIDRICA QUE SE EXTIENDE POR LA GEOGRAFIA, PUDIENDO LLEGAR A DOS COSTAS DISTINTAS, CON POCA HUELLA DE CARBONO, ALIMENTADO ELECTRICAMENTE MEDIANTE PLACAS FOTOVOLTAICAS VENTILADAS,  AEROGENERADORES Y BATERIAS, INCLUYE UN RIEGO SOSTENIBLE QUE AHORRA AGUA Y EVITA LA EROSION CON CONDUCTOS, DEPOSITOS, BOMBAS IMPUSORAS, ETC, TODO ELLO AEREO O ENTERRADO, EL SISTEMA HIDRICO ESTA CONECTADO A DESALADORAS O A POZOS.
AGUA PARA LA FAUNA SILVESTRE, EN ESPACIOS PROTEGIDOS O NO.
COMBINA PLACAS FOTOVOLTAICAS ELEVADAS SOBRE UNA PLATAFORMA DE MANTENIMIENTO ACCESIBLE Y CON UN RIEGO POR GOTEO SUBTERRANEO, CON CONTROL ELECTRONICO Y PROGRAMABLE,  SECTORIZADO CON ELECTROVALVULAS Y SEGUN DATOS DE SENSORES DE HUMEDAD EN EL TERRENO O A BORDO DE DRONES SE REALIZA EL RIEGO.
CONECTADOS A SISTEMA DE RIEGO, PUEDEN  TENER BATERIAS ADOSADAS, POZOS CON BOMBAS SUMERGIDAS, DEPOSITOS SUBTERANEOS O AEREOS Y/O DESALADORAS, EN SU CASO PARA AHORRA ENERGIA LAS DESALADORAS TIENEN LOS FILTROS BAJO EL NIVEL DEL MAR PARA APROVECHAR LA PRESION HIDRICA.
LAS DESALADORAS Y LAS PLACAS FOTOVOLTAICAS, COMO OPCION, ESTAN ROBOTIZADAS Y SE LIMPIAN SOLAS.
COMO OPCION PRODUCE HIDROGENO VERDE.
COMO OPCION LA INSTALACION SE VIGILA MEDIANTE CAMARAS DE VIDEO VIGILANCIA.
LA PLATAFORMA, PARA NO OSCURECER EL SUELO, ES TRANSPARENTE O SIEMI-TRANSPARENTE.
LAGUNAS NATURALIZADAS CON APORTE DE AGUA DESDE POZOS.
DEPOSITOS ENTERRADOS.
DEPOSITO DE AGUA.
HOY LAS HUERTAS O HUERTOS FOTOVOLTAICOS ACUPAN SUELO, QUE ES ESCASO ESPECIALMENTE EL SUELO AGRICOLA.

SI PARA SOLUCIONAR ESTE PROBLEMA, COLOCAMOS LAS PLACAS, ELEVADAS A MENOS DE DOS METROS DEL SUELO, SE PRODUCEN ACCIDENTES AL GOLPEARSE EL AGRICULTOR O AGRICULTORA U OTRA PERSONA, CON LAS PLACAS, SI EL BORDE DE LA PLACA ESTA 1.6 METROS DE ALTURA EL AGRICULTOR O AGRICULTORA U OTRA PERSONA, SE GOLPEARA EN LA CABEZA, SI LE OCURRE A UN TRABAJADOR POR CUENTA AJENA, GANARIA POR NO CUMPLIR EL PLANTIO LA LEY DE SEGURIDAD E HIGIENE EN EL TRABAJO.

SI PARA EVITAR ESTOS ACCIDENTES COLOCAMOS LAS PLACAS A MAS DE DOS METROS DEL SUELO SE DIFICULTA EL ACCESO A LAS PLACAS PARA SU MANTENIMIENTO.

TODO ELLO SE SOLUCIONA SI LAS PLACAS ESTAN A MAS DE DOS METROS DEL SUELO Y TIENEN UNA PLATAFORMA O PASARELA DE MANTENIMIENTO.
PLACAS FOTOVOLTAICAS SOBRE UNA PLATAFORMA TRANSITABLE.
PANEL FOTOVOLTAICO VENTILADO Y CON BATERIAS COMPONIENDO UNA T DE MODO QUE LA BATERIA QUEDA A LA SOMBRA DE LA PLACA FOTOVOLTAICA.
PARQUE FOTOVOLTAICO ELEVADO SOBRE UNA PLATAFORMA TRANSITABLE CON BARANDILLAS, PUEDE TENER UN ELEVADOR DE EQUIPOS Y BATERIAS TAL Y COMO SE VE EN LA IMAGEN, LA PLATAFORMA ES TRANSPARENTE.
-AGRIVOLTAICA AL AIRE LIBRE CON PLATAFORMA TRANSITABLE.
-AGRIVOLTAICA BAJO CUBIERTA TRANSITABE.
-NATURAVOLTAICA.
-RIEGO GEOGRAFICO.
RIEGO EFICIENTE GEOGRAFICO ALIMENTADO CON AEROGENERADORES, ENERGIA FOTOVOLTAICA Y CON BATERIAS.
PARQUE FOTOVOLTAICO CON BATERIAS, BARANDILLAS Y ELEVADORES, SOBRE PLATAFORMA TRANSITABLE.
ENERGIA FOTOVOLTAICA.
EFI VENT
SISTEMA DE LICENCIAS.
Ver sistemas de riego.
CONTACTO
ES1318776.

ES1305696.

ES1312653.

ES1280676U9.

ES1320921.

ES1318791.

ES1320682.

ES1298950.

ES1323174.

ES1312653 II.

NATURAEOLICA EN ZONAS ARIDAS SE EXTRAE AGUA DEL AIRE CON AEROGENERADORES PARA APORTAR AGUA A LA FLORA Y LA FAUNA.
ES1312653.

LOS PRODUCTOS DE ESTA WEB  ESTAN PATENTADOS Y ESTAN A LA VENTA.