EXTRACTO DE U202100277
LINEAS 1 A 16 PAG 10
REIVINDICACIONES.
1) REMATE DE VENTILACION COMPUESTO es una instalación de ventilación que comunica con el exterior el interior de un recinto mediante un remate con aberturas al exterior en paredes laterales laterales, este remate esta instalado en una abertura de una construcción en el extremo de, al menos, un conducto o en un colector, este remate está compuesto, al menos en parte, por una o mas piezas de hormigon, que en su caso están apiladas unas sobre otras y a la altura de las piezas de piedra artificial hay aberturas, caracterizado porque unido a las piezas de piedra artificial FIG 39, a el soporte o conducto (15) FIG 1, 48, al menos, un conducto (14) FIG 23, 32, 33 y 34 a 36 en cuyo extremo estan instaladas las piezas de piedra artificial o a un colector y formando con ello un sólido rígido hay, al menos, otra parte (3) FIG 23, 32, 33 y 39 con, una (3.3) FIG 4, 5 y 12, o más, chapas, (3.9) FIG 20, (7), (7.1), (8), (8.1) FIG, 10, 15, (8.2) FIG 16, (3.3) FIG 1 y 10, alguna chapa puede estar en forma de tubo, unidas entre sí, (o) a una estructura (3.2) FIG 1, 20, 32 y 50, de barras, la union es directa o mediante otras chapas (1.4) FIG 17 a 20, 24 a 28 y 44 a 47, el recinto puede estar en uso y las partes de hormigon pueden ser preexistentes.
3) REMATE DE VENTILACION COMPUESTO según reivindicación 1 o 2 porque en las piezas de piedra artificial, en el soporte o conducto (15) FIG 1, (14) FIG 23 y 34 a 35 en cuyo extremo estan una, o mas, piezas de piedra artificial (o en), hay parte de un anclaje mecánico reversible, por ejemplo (2) FIG 11, 12 y 32 36 y en la parte, o partes, con chapas, tubo y en su caso también barras (3) FIG 1, 4, 5, 11 y 12, está la otra parte de los anclajes mecánicos reversibles, por ejemplo (4) FIG 11, 12 y 32 a 36, al unir ambas partes de los anclajes reversibles se forma el sólido rígido y al separar ambas partes la parte, o partes, con al menos una chapa y en su caso barras es móvil.
LINEAS 30 A 33 PAG 10
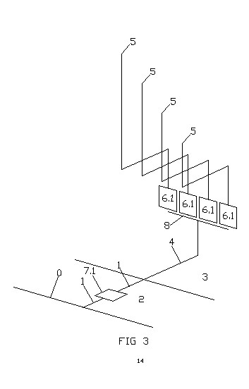
4) REMATE DE VENTILACION COMPUESTO según reivindicaciónes 1 o 2 y 3 caracterizado porque en las barras o chapas de la parte con chapas (3) se sujeta una superficie o chapa (3.8) FIG 1, 2, 23 y 34 a 36 con, al menos, una abertura donde está instalado, al menos, un ventilador (5) FIG 1.
LINEAS 24 A 29 PAG 11
16) REMATE DE VENTILACION COMPUESTO según reivindicación 1 o 2 caracterizado porque en las paredes laterales de la parte del remate de chapas y en su caso también barras hay lamas con su borde exterior e interior horizontales en posicion de funcionamiento, y en algun caso, inclinadas hacia afuera y hacia abajo (8.1) FIG 15, (8.2) FIG 16 y FIG 22 pudiendo en otros casos ser horizontales o estar inclinadas hacia abajo y hacia adentro.
LINEAS 25 y 26 PAG 8
El ventilador puede estar en el arranque del conducto en un tramo intermedio FIG 34 a 36 o en la coronacion (5) en FIG 1.