Como opcion conductos ramificados, por ejemplo en viviendas la extraccion deja bocas de ventilacion en cuartos humedos y la admision en dormitorios y estar e instalar en su caso placas fotovoltaicas varias marcas SUNFIELDS y baterias . Puede ser ventilacion mecanica, ventilacion hibrida o ventilacion con control mediante sensor de CO2 y en su caso con, al menos, un ventilador, un silenciador, una valvula anti-retorno, un programador horario, una rejilla antipajaros. Puede haber uno o mas ventiladores en el arranque, en tramos intermedios o en el aspirador.
Producto registrado.

En adosados y pareados si los remates estan cercanas, adosados, pareados etc; el humo, fibras, polvo (por ejemplo por reformas) y los aerosoles, tales como enfermedades pasan de una vivienda a otra; el covid aguanta horas en el aire y las corrientes de aire puede llevarlo de una vivienda a otra.
- Instalaciones con remates practicables según Codigo Tecnico de la Construccion.
EL CONTENIDO DE ESTA WEB ESTA PROTEGIDO COMO DERECHOS DE AUTOR.
SI DESEAN ADQUIRIR ALGUN PRODUCTO QLIQUEEN AQUI.
INSTALACIONES COMPLETAS ALIMENTADAS CON ENERGIA SOLAR Y EN SU CASO BATERIAS..
- TODOS LOS PRODUCTOS E INSTALACIONES SON HIBRIDAS, MECANICAS O CONTROLADOS MEDIANTE SENSOR DE CO2.
- CATALOGO DE EQUIPOS SUNFIELDS PARA LA ENERGIA FOTOVOLTAICA.
INSTALANDO ESTOS SISTEMAS DE VENTILACION SE HACE UNA REBAJA EN LOS EQUIPOS FOTOVOLTAICOS DEL 10 %.
- Instalamos conductos de ventilacion y energia fotovoltaica, en edificios ya en uso.
- Instalamos conductos de ventilacion y energia fotovoltaica, en edificios en proyecto o en construccion.
RVC MODELO PALMA-II.
PRACTICABLE O NO SIN MOTOR O CON VARIOS MOTORES TAMBIEN CON PLACAS FOTOVOLTAICAS.
- Son remates de ventilacion compuesto, menor huella de carbono.
VER CATALOGO
EXTRACTO DE U202100277.
EXTRACTO U202100277

LINEAS 30 A 39 PAG 11

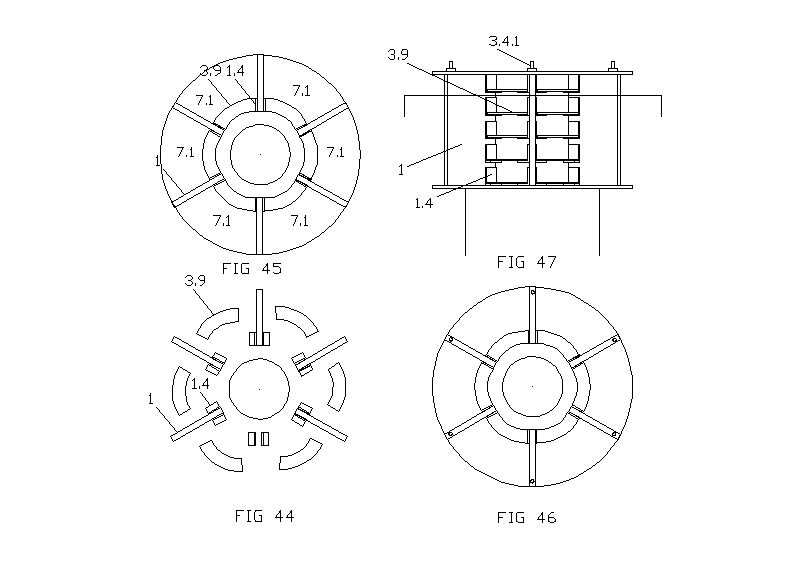
17) REMATE DE VENTILACION COMPUESTO según reivindicación 1 o 2 caracterizado porque las aberturas de parte del remate con chapas y en su caso barras, tiene una sección útil más amplia al exterior que al interior (7.1) FIG 10,  14, 22 y 37, 38, 40 a 43, 47, 48 y 49.
18) REMATE DE VENTILACION COMPUESTO según reivindicación 17 caracterizado porque en el interior de estas aberturas hay  unas chapas, (8) (10)  FIG 10, 14, 22, 37, 38, 40 a 43, 48 y 49 que tienen un borde mas cerca del interior del remate que el otro y que en posicion de funcionamiento no son horizontales.
19) REMATE DE VENTILACION COMPUESTO según reivindicación 4 caracterizado porque en las barras, chapas o tubo se sujetan dos ventiladores FIG 7.
EXTRACTO DE U202100277

LINEAS 1 A 16 PAG 10

REIVINDICACIONES.
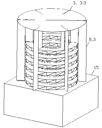
1) REMATE DE VENTILACION COMPUESTO es una instalación de ventilación que comunica con el exterior el interior de un recinto mediante un remate con aberturas al exterior en paredes laterales laterales, este remate esta instalado en una abertura de una construcción en el extremo de, al menos, un conducto o en un colector, este remate está compuesto, al menos en parte, por una o mas piezas de hormigon, que en su caso están apiladas unas sobre otras y a la altura de las piezas de piedra artificial hay aberturas, caracterizado porque unido a las piezas de piedra artificial FIG 39, a el soporte o conducto (15) FIG 1, 48, al menos, un conducto (14) FIG 23, 32, 33 y 34 a 36 en cuyo extremo estan instaladas las piezas de piedra artificial o a un colector y  formando con ello un sólido rígido hay, al menos, otra parte (3) FIG 23, 32, 33 y 39 con, una (3.3) FIG 4, 5 y 12, o más, chapas,  (3.9) FIG 20, (7), (7.1), (8), (8.1) FIG, 10, 15, (8.2) FIG 16, (3.3) FIG 1 y 10,  alguna chapa puede estar en forma de tubo, unidas entre sí, (o) a una estructura (3.2) FIG 1, 20, 32 y 50, de barras,  la union es directa o mediante otras chapas (1.4) FIG 17 a 20, 24 a 28 y 44 a 47, el recinto puede estar en uso y las partes de hormigon pueden ser preexistentes.

LINEAS 30 A 33 PAG 10

4) REMATE DE VENTILACION COMPUESTO según reivindicaciónes 1 o 2 y 3 caracterizado porque en las barras o chapas de la parte con chapas (3) se sujeta una superficie o chapa (3.8) FIG 1, 2, 23 y 34 a 36 con, al menos, una abertura donde está instalado, al menos, un ventilador (5) FIG 1.

LINEAS 24 A 29 PAG 11

16) REMATE DE VENTILACION COMPUESTO según reivindicación 1 o 2 caracterizado porque en las paredes laterales de la parte del remate de chapas y en su caso también barras hay lamas con su borde exterior e interior horizontales en posicion de funcionamiento, y en algun caso, inclinadas hacia afuera y hacia abajo (8.1) FIG 15, (8.2) FIG 16 y FIG 22 pudiendo en otros casos ser horizontales o estar inclinadas hacia abajo y hacia adentro.
EL CONTENIDO DE ESTA WEB ESTA PROTEGIDO COMO DERECHOS DE AUTOR.
EN CASO DE QUE HAYA UN CASSETE, CASETTE O CASETE, INSTALADO EN LA CHIMENEA, CUANTO MEJOR FUNCIONE EL REMATE Y MENOS REvOQUE, MENOS SE OSCURECERA Y MENOS SE MANCHARA DE HUMO, LA PUERTA DE CRISTAL.
ENTRA HUMO EN MI CASA.
ENTRA HUMO U OLORES TABACO EN MI CASA.
ENTRAN OLORES DEL INODORO DE LA CASA VECINA.
ENTRA OLORES DE COMIDA EN MI CASA.
EDIFICIO AUTOSUFICIENTE, EL CO2 PESA MAS QUE EL AIRE, POR ELLO LAS BOCAS DE EXTRACCION ESTAN EN EL ENTORNO DEL SUELO.
REJILLA Y VENTILACION DE SEGURIDAD CON SENSOR DE CO, HUMO, GAS Y CO2.
LAS PLACAS TERMICAS Y FOTOVOLTAICAS ESTAN A DOS METROS, O MAS, DE LA CUBIERTA PARA NO MOLESTAR, SOBRE UNA PLATAFORMA COMO OPCION TRANSPARENTE Y CON UNA BARANDILLA PERIMETRAL PARA PREVENIR ACCIDENTES POR CAIDAS.
REJILLA DE SEGURIDAD E INOBTURABLE PARA RECINTOS CON INSTALACIONES DE GASES EXPLOSIVOS.
- AGUAS ARRIBA DE LA ELECTROVALVULA, LA INSTALACION TRANSCURRE POR EL EXTERIOR.
REJILLA DE SEGURIDAD PARA GAS CON VENTILADOR QUE ACTUA SEGUN DATOS DE SENSORES DE GAS, CO, CO2.
- POR ESA RAZON SI EL ESCAPE ES AGUAS ARRIBA DE LA ELECTROVALVULA, COSA QUE PUEDE OCURRIR, NO HAY PELIGRO PARA LAS VIDAS Y LOS BIENES.
ESTE PARQUE FOITOVOLTAICO NO OCUPA SUELO Y ES SEGURO: PROTEGE LA SEGURIDAD Y EL HIGIENE EN EL TRABAJO.
- ELECTROLINERAS E HIDROLINERAS CONECTADAS A BATERIAS, ELECTROLIZADORES, PARQUES FOTOVOLTAICOS ELEVADOS SOBRE PLATAFORMAS CON BARANDILLAS Y AEROGENERADORES.
- SE PRODUCE HIDROGENO VERDE MEDIANTE PARQUES FOTOVOLTAICOS ELEVADOS SOBRE PLATAFORMAS CON BARANDILLAS Y AEROGENERADORES.
REJILLA DE SEGURIDAD PARA GAS.
- PANELES FOTOVOLTAICOS DOTADOS CON ESPEJOS CON SEGUIMIENTO SOLAR.
- PANELES FOTOVOLTAICOS VENTILADOS Y CON BATERIAS.
- PANELES FOTOVOLTAICOS VENTILADOS Y TÉRMICOS.
EFI VENT
Ver sistemas de riego.
CONTACTO
SISTEMA DE LICENCIAS.
U202432402.

U202300315.

U202430009.

U202100277.

U202432024.

U202430823.

U202431352.

U202200290.

U202300286.

U202430009 II.

NATURAEOLICA EN ZONAS ARIDAS SE EXTRAE AGUA DEL AIRE CON AEROGENERADORES PARA APORTAR AGUA A LA FLORA Y LA FAUNA.