VIVIENDAS, LOCALES Y EDIFICIOS EN USO.
- CATALOGO DE EQUIPOS SUNFIELDS PARA LA ENERGIA FOTOVOLTAICA.
INSTALANDO ESTOS SISTEMAS DE VENTILACION SE HACE UNA REBAJA EN LOS EQUIPOS FOTOVOLTAICOS DEL 10 %.
ESPECIAL PARA EMPRESAS SUMINISTRADORAS, DE AGUA, ELECTRICIDAD, GAS NATURAL, GLP, HIDROGENO.
U202300315.

ESTA INSTALACION PATENTADA ESTA EN OFERTA.

TL  623184997
Contadores en dominio privado.
Se añade un contador comunitario en el Dominio Publico.
CONTENIDO DE U202300315

INSTALACION DE SUMINISTRO CON DOBLE CONTADOR.
SECTOR DE LA TÉCNICA.
Estamos en las instalaciones de suministro por compañías a particulares o empresas de agua o energía, electricidad, gas natural, hidrógeno, gases licuados del petróleo etc, con el uso de contadores, la instalacion puede ser nueva, estar en proyecto o estar ya en uso.
ESTADO DE LA TÉCNICA.
Son muy conocidas las instalaciones de suministro por compañías a particulares o empresas de agua o energía , electricidad, gas natural, hidrógeno, gases licuados del petróleo etc con el uso de contadores.
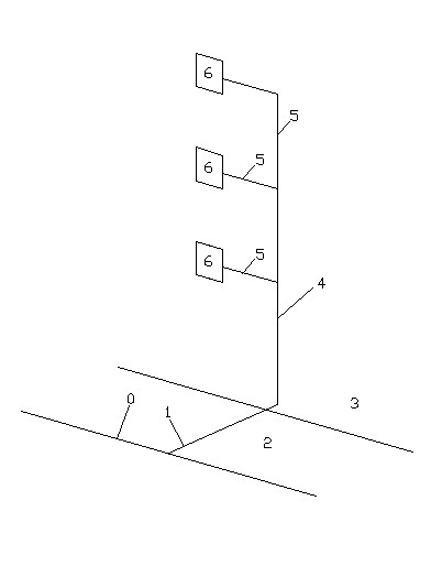
Llamamos acometida (1) FIG 1 a un ramal que sale de una canalización, que discurre en el Dominio Público gracias a una concesión administrativa, y que conecta con una o más instalaciones que llegan exclusivamente a uno o más consumidores finales.
Llamamos envolvente a un cuerpo conectado en el extremo abierto de un conducto y que tiene una, o más, aberturas al exterior.
EXPLICACIÓN DE LA INVENCIÓN.
El suministro parte de un punto de un deposito o de una canalización (0) FIG 1 en el Dominio Público de ese punto parte una acometida (1) FIG 1 que tras discurrir por Dominio Público (2) FIG 1, se conecta, mediante una valvula, que cierra o abre la comuninicación, con un conducto es comunitario (4) FIG 1 y se introduce en dominio privado individual o comunitario (3) FIG 1 del conducto comunitario (4) FIG 1 parten ramales individuales (5) FIG 1 conectado a un contador individual (6) FIG 1 y llega hasta los aparatos de utilización
Existe el problema, sobre todo en fluidos explosivos, de los escapes del fluido transportado por fallos en la instalación por ello si colocamos dos contadores, siendo uno de ellos un contador individual, en serie podemos detectar escapes en el tramo entre ambos contadores, si hay escape el primer contador medirá más caudal que el segundo, pudiendo el segundo contador estar cerrado y si hay escape el primer contador medirá caudal de la fuga.
El contador que no es individual, que llamamos comunitario, (7) FIG 2 esta está en el conducto comunitario o en la acopmetida y accesible desde zona pública, como es lógico, si no hay escapes, la suma de las medidas del consumo de los contadores individuales es igual que la medida tomada por el contador comunitario.
BREVE DESCRIPCIÓN DE LAS FIGURAS.
Son algunas formas de materializar el modelo de utilidad.
FIG 1 Vista axonométrica de una instalación de suministro con varios contadores individuales, una línea a trazos separa el Dominio Público de la propiedad privada.
FIG 2 Semejante a FIG 1 en el tramo comunitario hay un contador comunitario.
FIG 3 Semejante a FIG 2 en el tramo comunitario acaba en un colector donde hay cuatro contadores individuales de estos contadores parten conductos que llegan a las distintas viviendas en el tramo comunitario hay un contador comunitario.
FIG 4 Semejante a FIG 2 el contador comunitario está en el dominio público.
FIG 5 Planta en esquema de un local con dos aparatos que consumen gas, se ve una electroválvula en el exterior conectada a un sensor en el interior.
FORMA DE REALIZACIÓN PREFERIDA.
Es una instalacion de gas que parte de una red de gas (0) FIG 2 en la via publica la instalacion tras un tramo de conducto o acometida (1) FIG 2 bajo el pavimento de la via publica llega a un edificio de viviendas sube por las paredes (4) FIG 2 y se ramifica en conductos individuiaes que llegan a cada vivienda dejando, accesible desde la vivienda un contador individual (6) FIG 2 y una instalacion ramificada, que acaba en un valvula para conectar un aparato de coccion, una caldera, un calentador, etc. En el tramo comunitario o en la acometida (4) FIG 3 se intecala en la instalacion un contador comunitario (7) FIG 2, 3 y 4.
Es una instalacion de gas que parte de una red de gas en la via publica la instalacion tras un tramo de conducto comunitario y una cometida, bajo el pavimento de la via publica llega a un edificio de viviendas llega a un colector (8) FIG 3 en zona privada comunitaria a este colector estan conectados los contadores individuales (6.1) FIG 3 y de ellos parten conductos individuales (5) FIG 3 que llegan a las distintas casas donde los conductos se ramifican en ramas que acaban en un valvula para conectar un aparato de coccion, una caldera, un calentador, etc. En el tramo comunitario o en la acometida (4) FIG 3 se intecala en la instalacion un contador comunitario (7) FIG 2, 3 y 4.
El tramo comunitaro donde se instala en contador comunitario esta en el Dominio Publico (2) FIG 4, dentro de un armario cuya tapa es coplanaria con la superficie del pavimento o de la pared bajo la que discurre la instalacion.
El armario es:
1) De hierro fundido.
2) De piedra artificial.
3) De polimero.
En el caso de la piedra artificial o el polimero estara reforzado con fibras, barillas o mallas en su interior.
El suministro es de gas y en la instalacion individual que entra en un espacio interno donde hay aparatos a gas, en la instalacion y en el exterior hay una electroválvula (14) FIG 8, capaz de cerrar el conducto, conectada (14.1) FIG 8 a, al menos, un sensor de gas y/o humo (15) FIG 8 instalado dentro del espacio interno la electroválvula esta en el exterior si el sensor detecta gas o humo cierra la electroválvula, la electroválvula esta en el exterior para evitar una fuga de gas antes de dicha electroválvula dentro del espacio interno.
Los contadores individuales y el contador comunitario estan conectados y hay un aparato electronico que compara la suma de los caudales de los contadores indiuviduales y el caudal medido por el contador comunitario en el conducto comunitario, hay una electroválvula y si el caudal comunitario es mayor que la suma de los contadores individuales se cierra la electroválvula y se envia un aviso a la compañia suministradora.
Los contadores estan conectados inalambricamente.
En su caso la instalacion ya esta en funcionamiento y se intercala en en conducto comunitario o en la acometida un contador comunitario.
Para facilitar el mantenimiento la instalacion tiene partes que se unen entre si (10) FIG 5, 6, 7 y 9 y/o con los paramentos (10) FIG 5.con anclajes mecanicos reversibles (10) FIG 5, 6, 7 y 9.
Para asegurar el funcionamieto en todo caso, los aparatos electricos de la instalacion: sensores, ventiladores, comunicacion entre contadores con la compañia suministradora, etc, estan conectados  eléctricamentea, al menos, una placa fotovoltaica, a, al menos, un aerogenerador y a almenos a, al menos, una bateria electrica.



REIVINDICACIONES.
1)  INSTALACION DE SUMINISTRO CON DOBLE CONTADOR es una instalacion de suministro de agua o energia, electricidad, gas naturall, hidrogeno, gases licuados del petroleo etc, por compañias a pàrticulares o empresas, con el uso de contadores caracterizado porque el sumistro parte de un punto de un deposito o una canalizacion (0) FIG 1 en el Dominio Publico de ese punto parte un conducto o acometida (1) FIG 1 que tras trascurrir por el Dominio Publico (2) FIG 1, se introduce en el dominio privado donde llega hasta, al menos, un contador indidual (6) FIG 1 caracterizado por otro contador (7) FIG 2, colocado en la serie con el contador, o los contadores, individuales (6) FIG 1 que hayan.
2)  INSTALACION DE SUMINISTRO CON DOBLE CONTADOR según reivindicacion 1 caracterizado porque del conducto comunitario (4) FIG 1 parten ramales individuales (5) FIG 1 cada una e las cuales que pasan por un contador individual (6) FIG 1 y llega hasta los aparatos de utilizacion y hay otro contador comunitario (7) FIG 2 que esta en el conducto comunitario o en la acometida.
3)  INSTALACION DE SUMINISTRO CON DOBLE CONTADOR según reivindicaciones 1 o 2 caracterizada porque es una instalacion de fluido que parte de una red de fluido (0) FIG 2 en la via publica la instalacion tras un tramo de conducto o acometida (1) FIG 2 bajo el pavimento de la via publica llega a un edificio de viviendas sube por las paredes (4) FIG 2 y llega a cada vivienda dejando en la vivienda un contador individual (6) FIG 2 y un instalacion interna ramificada que acaba en un valvula para conectar un aparato de coccion, una caldera, un calentador, etc. En el tramo comunitario (4) FIG 3 o en la acometida se intecala en la instalacion un contador comunitario (7).
4)  INSTALACION DE SUMINISTRO CON DOBLE CONTADOR según reivindicaciones 1 o 2 caracterizada porque es una instalacion de fluido que parte de una red de fluido en la via publica la instalacion tras un tramo bajo el pavimento de la via publica llega a un edificio de viviendas llega a un colector (8) FIG 3 en zona privada comunitaria a este colector estan conectados los contadores individuales (6.1) FIG 3 y de ellos parten conductos individuales (5) FIG 3 que llegan a las distintas casas donde los conductos se ramifican en ramas que acaban en un valvula para conectar un aparato de coccion, una caldera, un calentador, etc. En el tramo comunitario (4) FIG 3 o en la acometida, se intecala en la instalacion un contador comunitario (7).

5)  INSTALACION DE SUMINISTRO CON DOBLE CONTADOR  según reivindicaciones 1 a 4 caracterizado porque el tramo comunitaro o la acometida donde se instalado en contador comunitario esta en el Dominio Publico (2) FIG 4, dentro de un armario cuya tapa es coplanaria con la superficie del pavimento o de la pared bajo la que discurre la instalacion.

6)  INSTALACION DE SUMINISTRO CON DOBLE CONTADOR según reivindicación  5 caracterizado porque el armario es de hierro fundido.
7)  INSTALACION DE SUMINISTRO CON DOBLE CONTADOR según reivindicación 5 caracterizado porque el armario es de piedra artificial.
8) INSTALACION DE SUMINISTRO CON DOBLE CONTADOR según reivindicación 5 caracterizado porque el armario es de polimero.
9)  INSTALACION DE SUMINISTRO CON DOBLE CONTADOR según reivindicaciones 7 o 8 caracterizado porque la piedra artificial o el polimero estan reforzados con fibras, barillas o mallas en su interior.

10)  INSTALACION DE SUMINISTRO CON DOBLE CONTADOR según reivindicaciones anteriores caracterizado porque el suministro es de un gas explosivo y en la instalacion individual entra en un espacio interno donde hay aparatos a gas Y EN EL EXTERIOR de la instalacion hay una electroválvula (14), capaz de cerrar el conducto, conectada (14.1) a, al menos, un sensor de gas y/o de humo (15) instalado dentro del espacio interno, si el sensor detecta gas o humo se cierra la electroválvula.

11) INSTALACION DE SUMINISTRO CON DOBLE CONTADOR según reivindicaciones 3 o 4 caracterizado porque los contadores individuales y el contador comunitario están conectados y hay un aparato electrónico que compara la suma de los caudales de los contadores individuales y el caudal medido por el contador comunitario en el conducto comunitario.
12) INSTALACION DE SUMINISTRO CON DOBLE CONTADOR según la reivindicación 11 caracterizado porque en la acometida o el conducto comuinitario y antes del primer ramal individula, hay una electroválvula y si el caudal comunitario es mayor que la suma de los caudales individuales se cierra la electroválvula.
13) INSTALACION DE SUMINISTRO CON DOBLE CONTADOR según la reivindicación 11 caracterizado porque si el caudal comunitario es mayor que la suma de los caudales individuales se envía un aviso a la compañía suministradora.
14) INSTALACION DE SUMINISTRO CON DOBLE CONTADOR según la reivindicación 11 caracterizado porque los contadores individulales están conectados con el contador comunitario de modo inalámbrico.

15) INSTALACION DE SUMINISTRO CON DOBLE CONTADOR según reivindicaciones anteriores caracterizado porque, los aparatos eléctricos de la instalación: sensores, y los mecanismos electricos de comunicación entre contadores, con la compañía suministradora, etc, están conectados eléctricamente a, al menos, una placa fotovoltaica.

16) INSTALACION DE SUMINISTRO CON DOBLE CONTADOR según reivindicacion 15 caracterizado porque las placas fotovoltaicas están conectadas eléctricamente a, al menos, una batería eléctrica.

17) INSTALACION DE SUMINISTRO CON DOBLE CONTADOR según reivindicaciones anteriores caracterizado porque, los aparatos eléctricos de la instalación: sensores,  los mecanismos electricos de comunicación entre contadores y con la compañía suministradora, etc, están conectados eléctricamente, a, al menos, a, al menos, un aerogenerador.

18) INSTALACION DE SUMINISTRO CON DOBLE CONTADOR según reivindicacion 17 anteriores caracterizado porque los aerogeneradores están conectados eléctricamente a, al menos, una batería eléctrica.

19) INSTALACION DE SUMINISTRO CON DOBLE CONTADOR según reivindicaciones anteriores caracterizado porque la instalacion es prexistente  y se añaden el contador comunitario.

20) INSTALACION DE SUMINISTRO CON DOBLE CONTADOR según reivindicacion 10 y/o 12 caracterizado porque la instalacion es prexistente  y se añade la electroválvula en el exterior de, al menos, un local.


INSTALACION DE SUMINISTRO CON DOBLE CONTADOR.
ENTRA HUMO EN MI CASA.
ENTRA HUMO U OLORES TABACO EN MI CASA.
ENTRAN OLORES DEL INODORO DE LA CASA VECINA.
ENTRA OLORES DE COMIDA EN MI CASA.
EDIFICIO AUTOSUFICIENTE, EL CO2 PESA MAS QUE EL AIRE, POR ELLO LAS BOCAS DE EXTRACCION ESTAN EN EL ENTORNO DEL SUELO.
REJILLA Y VENTILACION DE SEGURIDAD CON SENSOR DE CO, HUMO, GAS Y CO2.
EN CASO DE QUE HAYA UN CASSETE, CASETTE O CASETE, INSTALADO EN LA CHIMENEA, CUANTO MEJOR FUNCIONE EL REMATE Y MENOS REvOQUE, MENOS SE OSCURECERA Y MENOS SE MANCHARA DE HUMO, LA PUERTA DE CRISTAL.
U202432402.

LAS PLACAS TERMICAS Y FOTOVOLTAICAS ESTAN A DOS METROS, O MAS, DE LA CUBIERTA PARA NO MOLESTAR, SOBRE UNA PLATAFORMA COMO OPCION TRANSPARENTE Y CON UNA BARANDILLA PERIMETRAL PARA PREVENIR ACCIDENTES POR CAIDAS.
REJILLA DE SEGURIDAD E INOBTURABLE PARA RECINTOS CON INSTALACIONES DE GASES EXPLOSIVOS.
- AGUAS ARRIBA DE LA ELECTROVALVULA, LA INSTALACION TRANSCURRE POR EL EXTERIOR.
REJILLA DE SEGURIDAD PARA GAS CON VENTILADOR QUE ACTUA SEGUN DATOS DE SENSORES DE GAS, CO, CO2.
- POR ESA RAZON SI EL ESCAPE ES AGUAS ARRIBA DE LA ELECTROVALVULA, COSA QUE PUEDE OCURRIR, NO HAY PELIGRO PARA LAS VIDAS Y LOS BIENES.
ESTE PARQUE FOITOVOLTAICO NO OCUPA SUELO Y ES SEGURO: PROTEGE LA SEGURIDAD Y EL HIGIENE EN EL TRABAJO.
- ELECTROLINERAS E HIDROLINERAS CONECTADAS A BATERIAS, ELECTROLIZADORES, PARQUES FOTOVOLTAICOS ELEVADOS SOBRE PLATAFORMAS CON BARANDILLAS Y AEROGENERADORES.
- SE PRODUCE HIDROGENO VERDE MEDIANTE PARQUES FOTOVOLTAICOS ELEVADOS SOBRE PLATAFORMAS CON BARANDILLAS Y AEROGENERADORES.
REJILLA DE SEGURIDAD PARA GAS.
- PANELES FOTOVOLTAICOS DOTADOS CON ESPEJOS CON SEGUIMIENTO SOLAR.
- PANELES FOTOVOLTAICOS VENTILADOS Y CON BATERIAS.
- PANELES FOTOVOLTAICOS VENTILADOS Y TÉRMICOS.
CONTACTO
ES1318776.

ES1305696.

ES1312653.

ES1280676U9.

ES1320921.

ES1318791.

ES1320682.

ES1298950.

ES1323174.

ES1312653 II.

SISTEMA DE LICENCIAS.
Ver sistemas de riego.
NATURAEOLICA EN ZONAS ARIDAS SE EXTRAE AGUA DEL AIRE CON AEROGENERADORES PARA APORTAR AGUA A LA FLORA Y LA FAUNA.
SE EVITAN DAÑOS EN PERSONAS Y BIENES.
LOS PRODUCTOS DE ESTA WEB  ESTAN PATENTADOS Y ESTAN A LA VENTA.